玉祥機械 THJ系列水粉混合泵
企業信息
同類優質產品
更多+
產品分類
產品新聞
產品介紹
水粉混合泵采用高速旋轉的葉輪,將所需混合的料和液進行充分有效攪拌。廣泛應用于乳品、飲料行業。
產品用途及特點:
水粉混合泵又稱水粉混合器、水粉混合機,液料混合機,液料混料泵、混合機等THJ-L立式料液混合泵、THJ-F 分體式。外觀獨特,體積輕巧,環保整潔,節能高效、混合迅速、輸送方便等優點,是我們開發研制成功之新一代水粉混合機器。 機器主要工作原理是利用高速旋轉的葉輪將粉狀物料和液體進行充分拌和,輸送出所需的混合物。本設備所吸取之最高溫為80度,也可以用于果汁和其他飲料的生產。使液料快速混合應而達到理想的效益。是食品、飲料行業必不可少的設備之一。特別適用于再制奶的乳制品生產如:適合于奶粉、乳清粉、鈣奶、糊精粉等與流體進行混合,我們為了更好地滿足食品工業、日用化工、醫藥工業、各等行業優質環保的生產加工需要 ,并可按照客戶對加工物料的酸度、堿度、濃稠度等要求特殊定制生產。
適用范圍:
食品工業: 配制奶粉、乳清粉、糊精粉、酸奶、果奶茶、冰淇淋、月餅餡、奶油、果醬、果汁、大豆、豆醬、豆沙、花生奶、蛋白奶、鈣奶、麥乳精、香精、各種再制飲品等。
日用化工: 牙膏、洗滌劑、洗發精、鞋油、高級化妝品、沐浴精、肥皂、香脂等。
醫藥工業: 各型糖漿、營養液、中成藥、膏狀藥劑、生物制品、花粉、蜂皇漿、疫苗、各種藥膏、各種口服液等。
其他工業: 油漆、顏料、染料、涂料、各種涂料。包括內外墻涂料、防腐防水涂料、冷瓷涂料、多彩涂料、陶瓷釉料等。
技術參數:
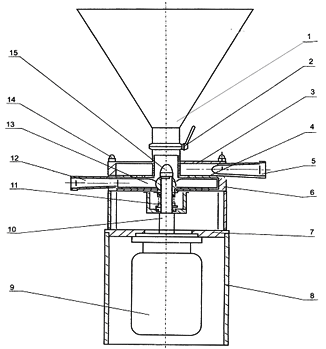
機器構造:
[ALIGN=CENTER]
立式THJ-L機器 結構圖[/ALIGN]
1. 進料斗 2.調節閥 3.泵殼體Ⅰ 4.隔板 5.進液口 6.泵殼體Ⅱ 7.電機座 8.圍板 9.電動機 10.轉軸 11.機械密封 12.出料口13.葉輪 14.蓋形螺帽 15.螺帽
[ALIGN=CENTER]
分體式THJ-F機器 結構圖 [/ALIGN]
1. 進料斗 2.調節閥 3.進液口 4.支架 5.軸承 6.固定螺絲 7.叢動帶輪 8.泵體 9.出料口 10.電動機 11.固定螺絲 12.機座
結構說明:
機器由:1.進料斗2.調節閥3.夾箍4.泵蓋5.翼輪6.泵座7.機械密封8.冷卻套9.主軸10.機架11.電動機等組成
本機中所有與物料接觸的部分均采用優質耐蝕不銹鋼材料。完全符合食品衛生的要求。該機的工作是靠聯結在全封閉電動機不銹鋼套軸上的翼輪來達到混合的目的,并由不銹鋼彈簧、壓緊密封圈、密封圈等組成機械密封裝置,以保證液體不外泄,進料斗與泵體用夾緊箍連接,電動機與泵座用螺栓連接在機架上,整機可作任意移動,無需固定的安裝基礎。
立式THJ-L型機器外型尺寸 :
使用說明:
水粉混合泵是利用高速旋轉的翼輪,將所需混和的料和液進行充分的拌和以得到所需之成品,本設備所吸取之最高溫度為80℃,特別適用于再制奶的生產,也可用于果汁和其他飲料的生產,是食品、飲料行業必不可少的設備之一。
1、使用前應注意各密封件裝配的貼切正確,各聯結口旋合的緊密可靠檢查翼輪的旋轉方向應為順時針,為了確保食品衛生的要求,使用前應先用蒸氣進行消毒,如果一切正常即可使用。
2、使用時注意:連接泵蓋的上方螺紋管(Rd58╳1/6)為進液口,混和以后的液體由下方的管口(Rd58╳1/6)出,泵體下部的二梯形橡膠管接頭為連接冷卻水的進出口管,專為冷卻機械密封之用。
此泵的拆卸非常方便,松開夾箍(件了)即可脫開進料斗與泵蓋,旋松四只螺母便可打開泵蓋,松開主軸上的鎖緊螺母(此螺母為左旋,順時針方向為松開)拿出翼輪,露出的便是機械密封件。此泵在主軸和馬達間尚有二道密封,如發現泄露,應立即檢查各密封件是否損壞,如有損壞應立即調換。機械密封件的調換,還需進行研磨后方可使用。
3、使用完畢應立即進行拆卸清洗,以防液料積垢。一般的拆卸清洗至打開翼輪即可。清洗時可先用熱水通過,然后拆卸洗刷干凈,再按順序一一裝上,機架上的二流奶槽孔注意不能堵塞,否則密封圈失效液體溢至電動機,即有燒毀的可能。
4、使用與清洗時,電動機外罩殼不能卸除,以防浸水,電機損壞。
機器構造:
[ALIGN=CENTER]
立式THJ-L機器 結構圖[/ALIGN]
1. 進料斗 2.調節閥 3.泵殼體Ⅰ 4.隔板 5.進液口 6.泵殼體Ⅱ 7.電機座 8.圍板 9.電動機 10.轉軸 11.機械密封 12.出料口13.葉輪 14.蓋形螺帽 15.螺帽
[ALIGN=CENTER]
分體式THJ-F機器 結構圖 [/ALIGN]
1. 進料斗 2.調節閥 3.進液口 4.支架 5.軸承 6.固定螺絲 7.叢動帶輪 8.泵體 9.出料口 10.電動機 11.固定螺絲 12.機座
結構說明:
機器由:1.進料斗2.調節閥3.夾箍4.泵蓋5.翼輪6.泵座7.機械密封8.冷卻套9.主軸10.機架11.電動機等組成
本機中所有與物料接觸的部分均采用優質耐蝕不銹鋼材料。完全符合食品衛生的要求。該機的工作是靠聯結在全封閉電動機不銹鋼套軸上的翼輪來達到混合的目的,并由不銹鋼彈簧、壓緊密封圈、密封圈等組成機械密封裝置,以保證液體不外泄,進料斗與泵體用夾緊箍連接,電動機與泵座用螺栓連接在機架上,整機可作任意移動,無需固定的安裝基礎。
立式THJ-L型機器外型尺寸 :
使用說明:
水粉混合泵是利用高速旋轉的翼輪,將所需混和的料和液進行充分的拌和以得到所需之成品,本設備所吸取之最高溫度為80℃,特別適用于再制奶的生產,也可用于果汁和其他飲料的生產,是食品、飲料行業必不可少的設備之一。
1、使用前應注意各密封件裝配的貼切正確,各聯結口旋合的緊密可靠檢查翼輪的旋轉方向應為順時針,為了確保食品衛生的要求,使用前應先用蒸氣進行消毒,如果一切正常即可使用。
2、使用時注意:連接泵蓋的上方螺紋管(Rd58╳1/6)為進液口,混和以后的液體由下方的管口(Rd58╳1/6)出,泵體下部的二梯形橡膠管接頭為連接冷卻水的進出口管,專為冷卻機械密封之用。
此泵的拆卸非常方便,松開夾箍(件了)即可脫開進料斗與泵蓋,旋松四只螺母便可打開泵蓋,松開主軸上的鎖緊螺母(此螺母為左旋,順時針方向為松開)拿出翼輪,露出的便是機械密封件。此泵在主軸和馬達間尚有二道密封,如發現泄露,應立即檢查各密封件是否損壞,如有損壞應立即調換。機械密封件的調換,還需進行研磨后方可使用。
3、使用完畢應立即進行拆卸清洗,以防液料積垢。一般的拆卸清洗至打開翼輪即可。清洗時可先用熱水通過,然后拆卸洗刷干凈,再按順序一一裝上,機架上的二流奶槽孔注意不能堵塞,否則密封圈失效液體溢至電動機,即有燒毀的可能。
4、使用與清洗時,電動機外罩殼不能卸除,以防浸水,電機損壞。
以上信息由企業自行提供,信息內容的真實性、準確性和合法性由相關企業負責,中國傳動網對此不承擔任何保證責任。 溫馨提示:為規避購買風險,建議您在購買產品前務必確認供應商資質及產品質量。
推薦產品
更多+





























網站客服
粵公網安備 44030402000946號